年入36亿的货运版“滴滴”福佑卡车提交招股书,京东物流是其股东 年入36亿的货运版“滴滴”福佑卡车提交招股书,京东物流是其股东

版权信息| 文ipo观察(ID:ipo2012)原创,转载请注明来

美东时间5月13日,公路货运平台福佑卡车提交在美IPO申请文件,寻求在纳斯达克上市,股票代码为“FOYO”。此前,货运平台满帮集团亦曾多次传出IPO消息,此次,福佑卡车提前递交招股书,或抢先成为公路货运第一股。公开资料显示,福佑卡车是一个连接货主和货车司机的线上平台,专门做公路运输领域的线上的车货匹配和交易,一开始涵盖零担、整车、空运等业务,发展至今业务已经聚焦到“整车”。招股书显示,截至2021年3月31日,福佑卡车已累计交付约320万份货物,成功为11,174名托运人提供服务,580,800名货车司机已在福佑卡车平台上完成订单,并覆盖了中国所有城市。业绩方面,2019年、2020年以及2021年第一季度,福佑卡车的收入分别为34亿元、36亿元、11.834亿元,2021年一季度收入增长率为76.1%,同期净亏损分别为-2.3亿元、-1.2亿元、-0.54亿元。招股书援引中投公司的数据表示,就2020年的收入而言,福佑卡车是中国最大的技术驱动的公路货运平台。 货运版“滴滴”

区别于满帮集团只做信息撮合,价格由货主和司机电话商定,并不参与到货主和司机之间的物流交付环节。福佑卡车是承运的交易平台,模式类似于货运界滴滴,平台系统围绕市场价直接给货主自动报价,然后货车司机从平台接单。因而福佑卡车与满帮“会员服务+增值服务”的盈利模式不同,福佑卡车通过介入交易环节收取交易费用。招股书显示,福佑卡车向托运人收取的费用与向承运人支付的费用之间的价格差是由福佑卡车的精确定价和福佑卡车的智能调度能力所驱动的,这在福佑卡车的毛利率中成比例地反映出来。福佑卡车的毛利率从2019年的-0.3%提高到2020年的3.0%。事实上,虽然公路货运量占所有货物运输的75%,但这个领域长久以来以“小、散、乱、差”,受到货运行业非标准化以及非及时性的特点,货运物流平台进行标准化定价和派单难度较高。招股书表示,福佑卡车最核心的壁垒是基于强大的数据洞察力,在智能定价(价格标准化)、智能调度(提高匹配效率)和智能服务(服务标准化)中开发并应用了卓越的技术功能,解决以前市场上大量信息成本高、服务不足和效率低下等问题,让货主用更短的时间、更少的运费找到性价比更高、更适合拉相应货物的车。2020年,福佑卡车的每位员工平均创造人民币600万元的收入,而2019年为人民币410万元。福佑卡车在平台上服务的累计托运人数量从2018年12月31日的880人增加了五倍,到2020年12月31日的4,860人,并在2021年3月31日进一步增加到11,174人。福佑卡车服务客户主要包括两种类型:一是像顺丰、京东、德邦这样的物流大客户企业(KA),这部分客户运输量较大对收入贡献大,在2019年和2020年以及截至2021年3月31日的三个月中,排名前30位的KA托运人分别贡献了福佑卡车总收入的96.4%,90.7%和81.8%,平均每个客户贡献收入从2019年的人民币6,090万元增长41.2%至2020年的人民币8,600万元,同时这些客户拥有较高的议价能力,福佑卡车的应收账款主要来源于KA托运人的运费,2019年12月31日福佑卡车的应收账款从人民币1.837亿元增加到截至12月31日的人民币2.641亿元以及到2021年3月31日的人民币2.869亿元;二是中小型托运人(SME),他们往往下的订单不到700公里,这部分业务发展较快,于2020年7月启动,之后的9个月,福佑卡车已为10,000多家SME托运人提供服务。到2021年3月,福佑卡车的SME托运人占订单总数的22.8%。SME托运人在福佑卡车开始服务之前就向福佑卡车付款,因此没有SME托运人的应收账款。到2020年,福佑卡车为大约230 KA托运人和3,770 SME托运人提供服务,而2019年为120 KA托运人。截至2021年3月31日,福佑卡车累计为10,000多个SME托运人提供服务。到2020年以及截至2021年3月31日的三个月中,福佑卡车的订单中有40%以上是长途订单,距离超过700公里,而超过700公里的平均订单距离约为订单平均距离的四倍。同时,福佑卡车上,司机结束运单,自然能在之后的结算中快速拿到属于自己的运费。这使福佑卡车能够发展庞大,快速增长且忠诚的司机群体。福佑卡车的承运人包括个人货车司机和由车队管理的货车司机。福佑卡车平台上已注册货车司机数量从2018年12月31日的约513,000名增至2020年12月31日的约830,000名,并进一步增加至2021年3月31日的约905,500名。2018年至2020年,分别有超过414,000名、557,000名和580,800多名货车司机在福佑卡车的平台上完成了订单。每年赚取人民币50,000元以上的货车司机已从2018年的约11,000人增加到2020年的约15,200人。 45岁女创始人单丹丹持股,京东物流持股

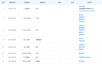
福佑卡车创始人为单丹丹,大学毕业成为南京机场库管,随后辞职多次创业,第一个创业项目是是以空运为主的线下的物流公司,成功做到了南京市空运的第一名,2011年参与一个互联网餐饮项目快乐777,2014年创立福佑卡车。成立伊始,单丹丹靠“福佑快运”获得梅花天使创始人吴世春的300万元天使轮融资,很快又获得了阿里十八罗汉之一吴泳铭的300万美金投资,随后获得多轮融资,投资方包括君联资本、真格基金、钟鼎创投、经纬中国、京东物流等,融资次数达7次,累计融资超过17亿人民币。

持股比例方面,单丹丹持有12.85%股份,福佑卡车的技术合伙人陈冠岭持股1.3%,陈冠岭在美国马萨诸塞州立大学计算机科学系任终身教授,研究方向是如何用新型智能技术来提升用户体验,提升工作效率。外部股东方面,钟鼎资本通过WELLINK INVESTMENTS LIMITED持有9.2%股份,君联资本通过LC Entities持有9.4%股份,盈信资本通过Shenzhen Yingxin Capital Phase I Investment Partnership (LLP)持有7.3%股份,京东物流通过JD Amarantine Investment Limited持有6.3%股份,经纬中国通过Matrix Partners China V Hong Kong Limited持有5.2%股份。文完,感谢你的耐心阅读。如果你还想看到我的文章,请一定给本文 “在看”、 “点赞” ,新文章推送才会第一时间出现在你的微信里。

最近为大家联系到一家低佣的头部大券商,这家是我自己现在主要在用的,APP操作起来也方便顺手。为大家争取到的是(开户入金一万):
1: 佣金四五折(约万1.1) 含规费过户费!调整后永不上调!2:不定时研报资讯分享!3:百万级别交易通道免费预约开通!4:新开户客户专享理财产品!5:免费咨询优质场外基金代码!6:央企券商,总部级交易通道,下单速度快,资金安全有保障!7:业务网上办理,支持网上销户,三星理财顾问一对一服务!
需要的朋友 长按识别下方的客服二维码, 完成所有步骤成功开出账户后,入金一万即可调整佣金。
识别下方二维码可添加客服开户: