陈思诚不相信爱情,但相信父爱 陈思诚不相信爱情,但相信父爱



《北京爱情故事》里,陈锋和沈彦最终走到了最后。但两个小时的电影之外,陈思诚和佟丽娅近十年的爱情“告一段落”。

根据天眼查的股权透视图可以看出,陈思诚与佟丽娅两人的公司已经没有股权交集。

陈思诚与佟丽娅的商业关系数据来源:天眼查

在此之前,陈思诚导演和编剧的《唐探3》盈利超过5亿,其中陈思诚4家公司参与投资,佟丽娅虽参演过《唐探》系列,与电影相关公司却无关联。值得注意的是,连续担任电影主演的王宝强这次也未能分一杯羹。
百亿票房背后的资本和商业关系变幻无常,陈思诚用四家公司投资《唐探3》,拿到的票房分红比万达影视更多,堪称最大赢家。
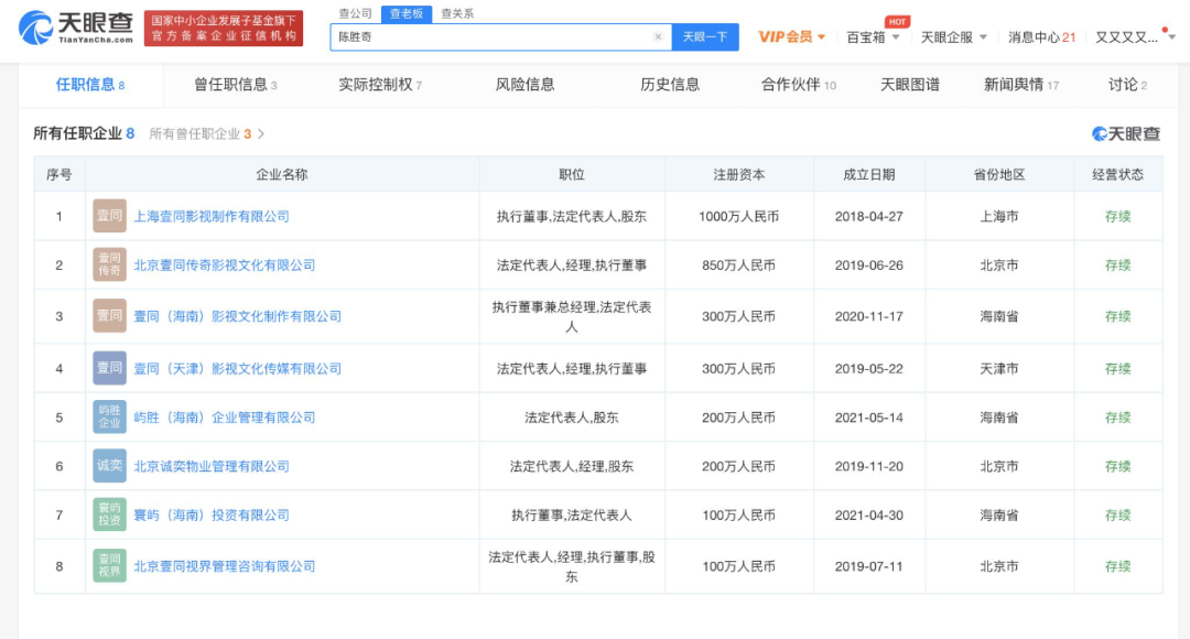
实际上,在陈思诚的商业版图里与他关联最多的是他的父亲陈胜奇,而不是佟丽娅。与陈思诚相关的影视作品里,都有陈胜奇的身影。
陈奇胜的任职信息数据来源:天眼查

从演员转型导演时,陈思诚曾经提到“我不想当被人分的蛋糕,我要成为做蛋糕的人”。刚与万达影视合作时,陈思诚被诟病“背靠万达好乘凉”,但现在,外界都称他为“拯救万达的男人”。
如今看来,陈思诚似乎不相信爱情,更相信父爱。
明面守护,暗地分家

“你们永远是我最爱的人,(现在是)换种身份来守护”,在陈思诚最新的一条微博里,他公开回应与佟丽娅的离婚消息。
但实际上,陈思诚与佟丽娅在这之前早已没有商业股权关系。根据天眼查显示,两人的股权透视图没有交集。
早前,陈思诚在2012拍摄《北京爱情故事》电影版时成立了上海骋亚影视传媒公司。骋亚的前身是陈思诚与佟丽娅的工作室,当时陈思诚根据自己的“诚”与佟丽娅的“娅”取名为骋亚,借此来讨美人欢心。
陈思诚与佟丽娅

可是,骋亚只是表面的浪漫。无论是股东还是高管,陈思诚都没有把佟丽娅放在公司的名单里。
明星夫妻分家总会牵扯到利益分配,陈思诚却与佟丽娅各自独立。
目前,佟丽娅担任法定代表人且个人100%持股的公司只有4家,分别是大丫(上海)影视文化工作室、佟丽娅(上海)影视文化工作室、新沂大丫影视文化工作室和长兴大果影视文化工作室。此外,佟丽娅还参股了一家上海逛渝品牌管理合伙企业,持股比例为30%。
与佟丽娅相比,陈思诚似乎更擅长资本的运作,并实际控制多达11家公司。
陈思诚的相关信息
数据来源:天眼查

陈思诚2016年从上海骋亚的影视传媒公司的股东名单中退出,但据天眼查显示,该公司的核心团队成员仍显示为曾茂军与陈思诚。
后来,陈思诚启动《唐探》系列,主投公司依然为万达影视和陈思诚持股的“骋亚”。眼看电影大获成功,陈思诚在2019年和他的父亲陈胜奇一起成立了北京壹同传奇影视文化有限公司,股东名单中依旧没有佟丽娅。
这次,《唐探3》盈利超过5亿,陈思诚照样没有把曾作为参演方的佟丽娅加入到投资队列中。陈思诚的公司无论骋亚还是壹同传奇,都和佟丽娅无关。
可以说,不同于荧幕前的夫妻“合体”以及影视中的角色关联,陈思诚的商业帝国和佟丽娅没有任何关系。
搭上万达,盆满钵满

陈思诚能从演员成功转型到导演,离不开2010年播出的电视剧《北京爱情故事》。
这部电视剧是陈思诚导演的第一部作品,也是他与佟丽娅感情开始的地方,更是陈思诚搭上万达影视从此走上人生巅峰的转折点。
当时,电视剧的出资方是新丽传媒和乐视,拍摄期间万达影视入股新丽传媒,算是陈思诚的半个老板。电视剧播出后,陈思诚用3000万元的成本收获了上亿元的回报后,逐渐与万达影视深度绑定。
搭上万达影视这条大船后,陈思诚经常被外界诟病是“背靠大树好乘凉”。实际上,陈思诚与万达影视本就是双向受利。陈思诚需要证明自己的机会,万达影视为了赚钱能给机会。
《唐探1》剧照
这些年来,陈思诚与万达影视相关的每一部电影都能赚钱:

2014年,《北京爱情故事》,成本5000万,票房4亿;2015年,《唐人街探案》,成本8000万,票房8亿;2018年,《唐人街探案2》,成本3亿,票房33亿。

除此之外,陈思诚监制的《误杀》也以不到1亿的成本为万达电影贡献了11亿的票房。
眼看陈思诚能源源不断地带来票房盈利,万达影视自然愿意持续投钱。
在正式拍摄《唐探》之前,陈思诚拉来万达影视入股骋亚影视,持股比例为60%。《唐探1》用8000万成本拿下8亿票房后,陈思诚的骋亚被万达电影拿下了全部的股权,他本人只担任总经理。
之后与万达合作的每一部电影,陈思诚都是作为联合投资方参与的。直到《唐探3》出品方中出现了一家新公司——壹同文化,陈思诚与万达影视继续以共同出品的方式合作,陈思诚以此保证自己不仅参与票房分账,还有对于作品的话语权。
除了票房外,《唐探3》的盈利还来自于电影中的广告植入,这些都能带给片方不小的收益。据不完全统计,电影中的广告植入从耳机、电视机品牌、银行、电脑、电商、酒、饮品、牛奶、汽车等等,多达14个。
导演票房TOP100,陈思诚第一来源:猫眼专业版
如今,陈思诚可谓名利双收。根据灯塔专业版数据显示,陈思诚现为中国影史上票房排名第一的导演,也是目前国内唯一一个电影票房破百亿元的导演。
没有前期万达影视的赏识与支持,陈思诚或许很难有今天的斐然成绩。
商业变更,皆为利来

依靠迟到一年上映春节档的《唐探3》,陈思诚再次大获成功。但曾友情客串的佟丽娅与电影相关公司没有关联,此前一直投资唐探系列、担任主演的王宝强,也未能在《唐探3》分一杯羹。
最早,陈思诚拍《唐人街探案》第一部时吸引不到太多资方,王宝强出钱投资了这部电影,联合出品方中的北京宝亿嵘影业就是王宝强的公司。
但到了《唐探3》,多达27家出品方的队列里已经看不到宝亿嵘或乐开花的名字。很明显,王宝强没能参投这部电影。比较大的可能是商业世界太过残酷,王宝强没能挤进来分一杯羹。
陈思诚与王宝强

复杂的商业关系里,人情味只是表面功夫。在陈思成的商业版图里与他关联最多的是陈胜奇,从来不是佟丽娅。
据天眼查显示,陈胜奇关联企业共8家,其中包括北京壹同视界管理咨询有限公司、上海壹同影视制作有限公司、屿胜(海南)企业管理有限公司、寰屿(海南)投资有限公司。
受疫情影响,本应在2020年春节档上映的《唐探3》推迟上映,陈思诚顺势试水网剧,推出网剧《唐人街探案》,上海壹同影视制作有限公司是出品方之一。
《唐探3》的参与公司 来源:猫眼专业版
《唐探3》的三家主要出品方里,北京壹同传奇影视文化发展有限公司排在第二位,上海骋亚影视文化传媒有限公司则是联合出品公司。其中,霍尔果斯骋亚影视文化传媒有限公司,以及上海壹同影视制作有限公司也都是陈思诚和父亲陈胜奇成立的公司。
除了投资出品外,壹同传奇影视文化有限公司还是《唐探3》的联合发行方之一。
为了保证自己的利益最大化,陈思诚用四家公司投资了这部电影,最终超越万达影视成为最大的收益方。
如今,陈思诚如《北京爱情故事》里的陈峰逐渐实现了自己的野心。但又与陈峰不一样,陈思诚不相信爱情,相信父爱。


了解更多热点资讯 点击关注锌财经视频号 ↓↓↓